Công nghệ này hứa hẹn giúp xe máy tự động phát hiện và né tránh va chạm, nhưng cũng dấy lên vô số hoài nghi về tính khả thi và khả năng bảo đảm an toàn cho người lái trước các quy luật vật lý khắc nghiệt.
Trong thế giới ô tô, các hệ thống hỗ trợ người lái tiên tiến (ADAS) như tự động phanh hay hỗ trợ giữ làn đường đã trở thành tiêu chuẩn. Tuy nhiên, đối với thế giới xe hai bánh, việc áp dụng các công nghệ này vẫn là một vùng đất đầy thách trở ngại. Bất chấp những thách thức đó, Honda mới đây đã nộp một bằng sáng chế đặt ra câu hỏi táo bạo: Liệu xe máy có thể tự động đánh lái để cứu mạng người lái hay không?

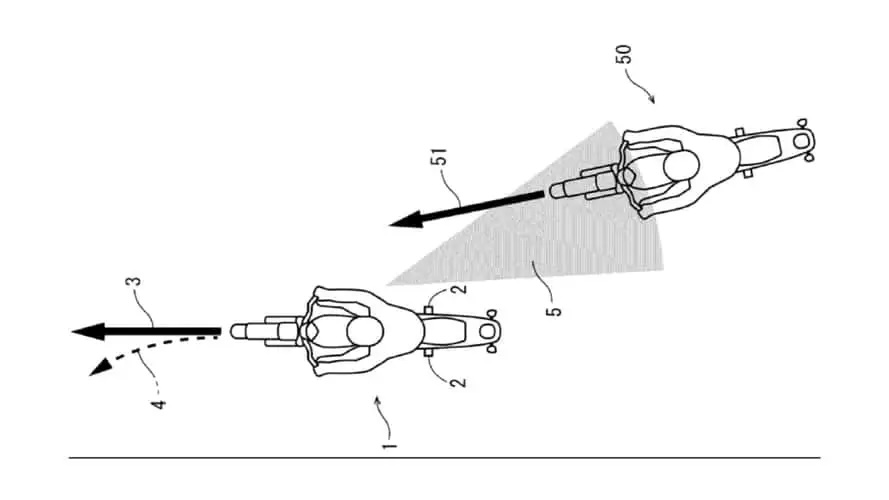
Gần đây, Honda đã nộp đơn xin cấp bằng sáng chế mới nhằm chuyển giao công nghệ "bảo vệ an toàn chủ động" từ ngành công nghiệp ô tô sang thế giới xe hai bánh. Công nghệ này sử dụng camera để giám sát các điểm mù, và khi phát hiện một phương tiện đang đến từ phía sau có nguy cơ va chạm, hệ thống sẽ can thiệp vào tay lái thông qua các bộ truyền động để chủ động giúp bạn tránh nguy hiểm.
Cơ chế hoạt động: Từ cảnh báo đến chiếm quyền kiểm soát
Theo hồ sơ bằng sáng chế, hệ thống của Honda không chỉ đơn thuần là một bộ cảm biến thụ động. Nó là một tổ hợp phức tạp bao gồm hệ thống giám sát điểm mù dựa trên camera và các actuator cơ khí có khả năng can thiệp trực tiếp vào khả năng vận hành của xe.
Quy trình hoạt động của hệ thống được chia thành nhiều giai đoạn cụ thể để đảm bảo an toàn. Đầu tiên, các camera sẽ liên tục quét khu vực điểm mù để phát hiện các phương tiện đang lao tới hoặc có nguy cơ va chạm. Khi phát hiện mối đe dọa, hệ thống sẽ phát cảnh báo cho người lái thông qua tín hiệu hình ảnh hoặc âm thanh.
Điểm đột phá nằm ở giai đoạn tiếp theo. Nếu người lái bắt đầu phản ứng với cảnh báo, hệ thống sẽ "chung tay" hỗ trợ bằng cách điều chỉnh phanh, ga hoặc lực đánh lái để giúp xe thoát khỏi nguy hiểm nhanh hơn.
Ngược lại, trong trường hợp người lái không phản ứng hoặc bị tê liệt do hoảng loạn, hệ thống sẽ tự động tăng dần mức độ can thiệp vào tay lái để đưa chiếc xe ra khỏi quỹ đạo va chạm. Honda nhấn mạnh từ khóa "dần dần" trong hồ sơ, khẳng định rằng sự can thiệp này sẽ không diễn ra đột ngột để tránh làm mất thăng bằng của xe.

Hệ thống hỗ trợ tránh chướng ngại vật khẩn cấp cho xe hai bánh được lấy cảm hứng từ hệ thống hỗ trợ lái khẩn cấp trên ô tô, nhưng Honda hiểu rằng động lực học của xe máy phức tạp hơn nhiều so với ô tô; chuyển động của tay lái ảnh hưởng trực tiếp đến sự cân bằng, góc nghiêng và cảm giác an toàn của người lái. Do đó, bằng sáng chế đặc biệt nhấn mạnh rằng hệ thống này phát hiện trạng thái vận hành hiện tại của người lái.
Thách thức từ vật lý và nỗi lo "xe tự lái người"
Mặc dù ý tưởng về một chiếc xe máy "không thể đâm đụng" nghe rất hấp dẫn, đặc biệt là với những ai từng trải qua tai nạn ở những cung đường hẻo lánh, nhưng thực tế lại phức tạp hơn nhiều. Khác với ô tô, xe máy chịu sự chi phối nặng nề của khả năng giữ thăng bằng và các kỹ thuật lái đặc thù như đánh lái nghịch (countersteering - muốn rẽ trái phải đẩy tay lái về bên trái).
Một chiếc ô tô bốn bánh có thể tự động đánh lái gấp sang trái để tránh vật cản mà không sợ bị lật. Nhưng với xe máy, một cú đánh lái tự động bất ngờ từ máy tính có thể khiến chiếc xe mất ổn định ngay lập tức, thậm chí hất văng người lái xuống đường trước khi vụ va chạm kịp xảy ra. Dù Honda cam kết lực hỗ trợ sẽ tăng dần, nhưng trong những tình huống sinh tử diễn ra trong tích tắc, ranh giới giữa "hỗ trợ an toàn" và "can thiệp nguy hiểm" là vô cùng mong manh.
Hơn nữa, môi trường giao thông của xe máy thường hỗn loạn và khó đoán hơn nhiều so với ô tô. Mặt đường xấu, ổ gà, cát sỏi hay những tình huống giao thông biến thiên từng micro giây đòi hỏi sự linh hoạt mà chưa chắc các thuật toán hiện tại có thể xử lý hoàn hảo. Một hệ thống máy móc liệu có đủ nhạy bén để phân biệt giữa việc né một chiếc xe tải và việc lao xuống một cái rãnh bên đường?

Bên cạnh các vấn đề kỹ thuật, bằng sáng chế này còn chạm đến một khía cạnh triết học của cộng đồng biker. Nếu một chiếc xe máy được trang bị tận răng các công nghệ ADAS, tự động phanh, tự động ga và giờ là tự động lái, thì trải nghiệm cầm lái còn lại gì? Nhiều người đam mê mô tô tìm đến hai bánh xe chính vì sự tự do, cảm giác kiểm soát hoàn toàn và tính chất cơ học "analog" của nó.
Việc biến chiếc xe máy thành một cỗ máy thông minh biết tự bảo vệ mình là một bước tiến đáng ghi nhận của Honda trong nỗ lực giảm thiểu tai nạn giao thông. Tuy nhiên, để công nghệ này đi từ bản vẽ ra đường phố là một hành trình dài. Nó đòi hỏi một sự cân bằng tinh tế: phải đủ mạnh mẽ để can thiệp hiệu quả khi cần thiết, nhưng không được quá thô bạo để tước đi quyền kiểm soát – và quan trọng hơn là sự an toàn – của người ngồi trên yên xe.
Có lẽ, với nhiều tay lái kỳ cựu, một chiếc xe đơn giản, phanh không quá nhạy nhưng mang lại cảm giác chân thật như chiếc Royal Enfield Himalayan vẫn là lựa chọn ưu tiên hơn là một cỗ máy công nghệ cao có thể tự ý giật tay lái bất cứ lúc nào nó cho là nguy hiểm.